jbo电竞在线
返回首页
|
设为首页
|
收藏本站
|
登录
站内检索:
公司简介
大事记
公司规章
内部专区
企业文化
学习交流
下属企业
通知公告
公司新闻
公司视频
招投标信息
在建项目
完工项目
项目前期
AYX爱体育管理
AYX爱体育核算
质检安全
应急工作流程
其他
党建工作
工会
国企党红旗
纪检监察
招商项目
投融资业务
投融资政策
在线留言
走进CSGO投注官网
公司简介
大事记
公司规章
企业文化
学习交流
下属企业
您所在位置:首页>企业文化>学习交流
企业文化
市政道路建筑高清图文指南
类别:学习交流 发布时间:2017-05-25 11:44:41 浏览:3809 次
[返回]
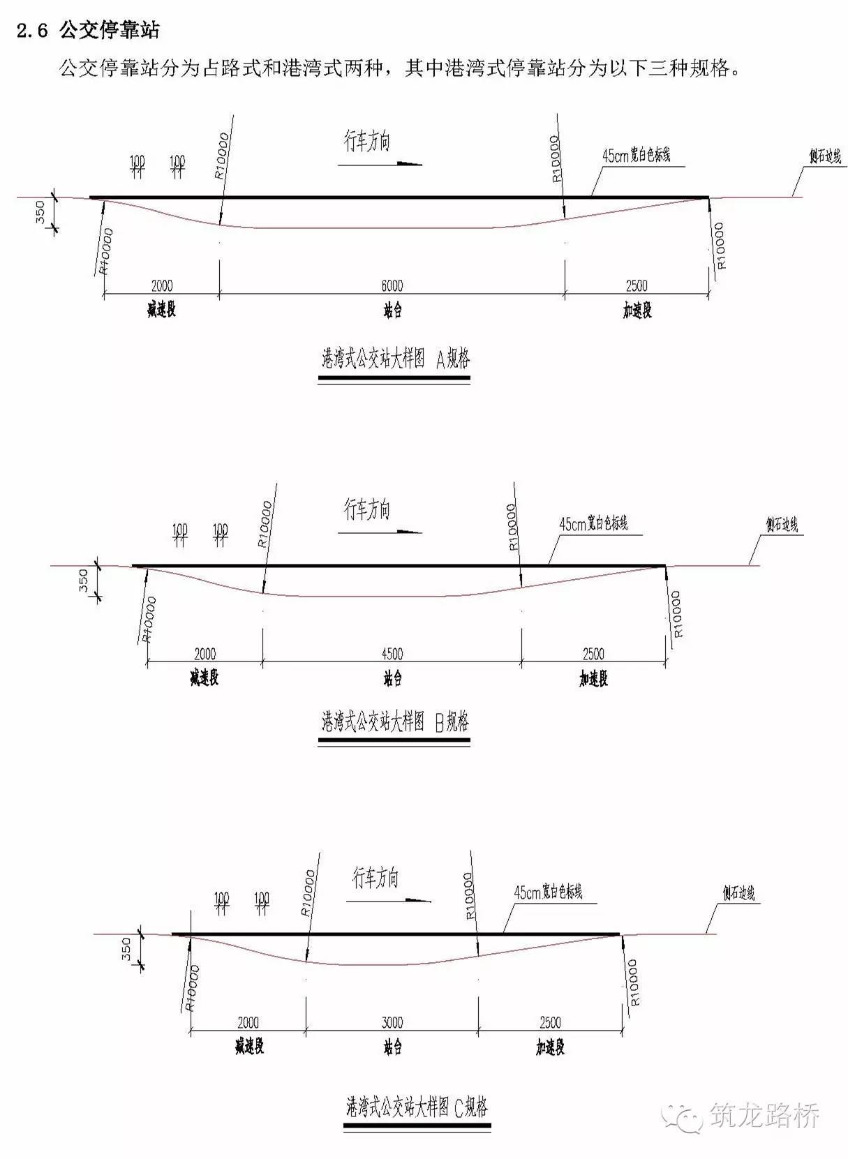
这是广州市市政道路建筑指南对市政道路AYX爱体育中的道路、交通、照明、排水、综合管线、桥梁及隧道等方面进行了图文并茂的施工指导,并按城市快速路、城市主干道、城市次干道、支路四个等级进行了划分。
上一篇:
温拌沥青混合料沥青路面施工现场这么做,没有不放心的!
XML 地图